A Disposable Inhalation Device

by Dmitrii Semakov
(Russia, St.-Petersburg)

A Disposable Inhalation Device

A Disposable Inhalation Device

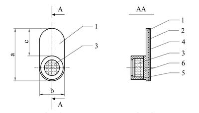
Small one time use device for inhalation with essential oils for the treatment of respiratory diseases.

Currently, the device already has a patent for a utility model in Russia (136 721).

Also, has already decided to grant a patent for an invention.

Already filed an international application (PCT/RU2014/000627).

More detailed information can be see: http://tfinb.com/249.htm

Click here to post comments

Join in and write your own page! It's easy to do. How? Simply click here to return to Invention Websites.

Share this page:
| Home | Contact | Privacy Policy